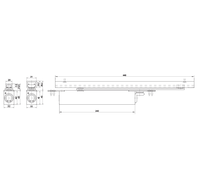
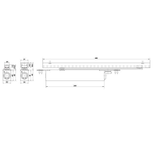
Integrovaný samozavírač BOXER 3-6 je vyroben z hliníku a je povrchově upraven. Je celý zabudovaný do dveřního křídla a zárubně. Při otevření dveří je viditelné jen táhlo mezi vodící lištou a tělem samozavírače. Samozavírač splňuje požadavky normy ČSN EN 1154 a je testován na min. 500 000 zavíracích cyklů. Vyznačuje se bezporuchovým provozem a dlouhodobou životností.
Při výběru samozavírače je nezbytné dodržet požadavky normy ČSN EN 1154, která stanovuje velikost samozavírače (zavírací sílu) vzhledem na šířku dveřního křídla. Integrovaný samozavírač BOXER 3-6 má sílu zavírání dle ČSN EN 1154 ve čtyřech velikostech a to konkrétně 3 - 6:
Síla zavírání velikosti 3 dle ČSN EN 1154 - je pro šířku dveřního křídla od 850 mm do 950 mm
Síla zavírání velikosti 4 dle ČSN EN 1154 - je pro šířku dveřního křídla od 950 mm do 1 100 mm
Síla zavírání velikosti 5 dle ČSN EN 1154 - je pro šířku dveřního křídla od 1 100 mm do 1 250 mm
Síla zavírání velikosti 6 dle ČSN EN 1154 - je pro šířku dveřního křídla od 1 250 mm do 1 400 mm
Doporučená váha dveřního křídla dle ČSN EN 1154 je pro tento samozavírač 180 kg.
Integrovaný samozavírač BOXER 3-6 má možnost nastavení rychlosti zavírání dveří a hydraulického koncového dorazu při zavírání (ventil). Také nastavení polohy trvalého otevření - 80 ° - 120 ° (nastavitelné) a nastavitelné tlumení otevírání.
Použití:
Na těžké interiérové / exteriérové dveře z materiálu - dřevo / plast
Tloušťka dveří - min. 50 mm
Orientace dveří - pro levé i pravé dveře

Zajišťujeme zakázkovou kovovýrobu po celé České republice a Slovensku. Díky vlastní dopravě garantujeme rychlé a spolehlivé dodání ocelových zárubní, kovových konstrukcí i technického příslušenství přímo na stavbu nebo do vašeho provozu.
Hledáte zkušeného dodavatele? Kontaktujte nás, rádi vám připravíme cenovou nabídku na míru dle vašich požadavků.
+420 775 329 321
objednavky@megacorp.cz
Administrativa:
+420 775 329 322
info@megacorp.cz
MEGACORP společnost s r.o.
Kelč 455
756 43 Kelč
Česká republika
Cookies / GDPR
Copyright Markéta Kubná